Desarrollo del sistema financiero y crecimiento económico
| dc.audience | Policymakers | eng |
| dc.audience | Researchers | eng |
| dc.audience | Teachers | eng |
| dc.audience | Students | eng |
| dc.coverage.sucursal | Bogotá | spa |
| dc.creator | Carvajal, Andrés | |
| dc.creator | Zuleta, Hernando | |
| dc.date.accessioned | 1997-01-08T08:30:10Z | eng |
| dc.date.available | 1997-01-08T08:30:10Z | spa |
| dc.date.created | 1997-01-08 | spa |
| dc.date.issued | 1997-01-08 | eng |
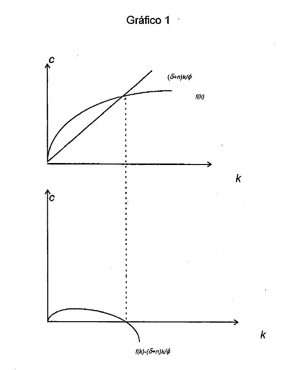
| dc.description | Desde la propuesta de Schumpeter (1911)(1)de que los servicios prestados por el sistema financiero son importantes para la promoción de la innovación tecnológica y el crecimiento económico(2). ha existido un relativo consenso entre los economistas en el sentido de que el desarrollo del sistema es importante para el crecimiento de largo plazo. A pesar de ello, en la teoría del crecimiento no se han incorporado con suficiente relevancia estas relaciones. En el plano empírico las primeras evaluaciones de esta hipótesis se llevaron a cabo en la década de los setenta - Goldsmith (1969)(3), McKinnon (1973)(4) y Shaw (1973)(5), para muestras pequeñas de países, con resultados que apoyaban la idea de que la mejor estructuración financiera de una economía acelera el crecimiento. Por supuesto, las simples relaciones empíricas resultaban cuestionables en tanto carecían de fundamentación teórica(6). Desarrollos recientes han presentado modelos de crecimiento en los que la intermediación financiera afecta la tasa de crecimiento (endógeno) del PIB percápita en el largo plazo, y de ellos se extrae la lección de que las políticas de represión al sistema financiero, o la excesiva intermediación en sus funciones tienen efectos nocivos de largo plazo. Este trabajo busca evaluar la hipótesis teórica de que el mejor desarrollo del sistema financiero estimula el crecimiento económico de largo plazo. En esta dirección, el trabajo se divide en seis partes, la primera de las cuales es esta introducción. En la segunda de ellas, se revisa la principal literatura en relación con esta hipótesis. En la tercera se introduce el sistema financiero en in modelo de crecimiento de largo plazo, partiendo del conocido modelo de Ramsey y luego introduciendo consideraciones sobre la productividad marginal del capital, la utilidad marginal del dinero y el señoreaje. En la cuarta parte, se resume la evidencia internacional recogida en la literatura y luego se hace un ejercicio econométrico sencillo para evaluar la evidencia colombiana. Dados los resultados obtenidos, en la quinta parte se hace computable el modelo y se realizan ejercicios de simulación. En particular, se evalúan los resultados de una política de apertura del sistema financiero, y se hace dinámica comparativa con las tasas de encaje e impaciencia de la economía. Finalmente, en la sexta parte se destacan las conclusiones del trabajo. | spa |
| dc.format.mimetype | spa | |
| dc.identifier.handle | https://hdl.handle.net/20.500.12134/5083 | spa |
| dc.identifier.uri | https://repositorio.banrep.gov.co/handle/20.500.12134/5083 | spa |
| dc.language.iso | spa | spa |
| dc.publisher | Banco de la República | spa |
| dc.relation.doi | https://doi.org/10.32468/be.67 | spa |
| dc.relation.dotec | https://ideas.repec.org/p/col/000094/002279.html | spa |
| dc.relation.ispartof | Documentos de Trabajo | spa |
| dc.relation.ispartofseries | Borradores de Economía | spa |
| dc.relation.isversionof | Borradores de Economía; No. 67 | spa |
| dc.relation.number | Borrador 67 | spa |
| dc.relation.repec | https://ideas.repec.org/p/bdr/borrec/067.html | spa |
| dc.rights.Habeas | Datos personales: El(los) autor(es) ha(n) incluido sus datos personales (nombres, correo electrónico, filiación académica, perfil académico, entre otros) en el Portal de Investigaciones o la obra remitida para publicación, y por consiguiente, manifiesta(n) que mediante el diligenciamiento y registro de sus datos personales autoriza(n) al Banco de la República el tratamiento (recolección, almacenamiento, uso, circulación o supresión) de todos los datos suministrados con la finalidad de adelantar la publicación de la obra en el Portal de Investigaciones, dar a conocer su perfil académico y medios de contacto para fines académicos y divulgativos, así como para la construcción de indicadores y estadísticas para el seguimiento y control de las actividades de divulgación del Portal de Investigaciones. Para tal fin, se informa que el tratamiento de los datos personales se realizará de acuerdo con las políticas o lineamientos generales disponibles en http://www.banrep.gov.co/proteccion-datos-personales, en la sección “Protección de Datos Personales - Habeas Data”. | spa |
| dc.rights.Objeto | Objeto de publicación: La obra de mí (nuestra) autoría tiene por objeto ser publicada en el Portal de Investigaciones del Banco de la República e incluirla en el repositorio institucional de esa misma entidad. La obra podrá consistir en documento escrito, audiovisual, audio, gráfico, fotográfico, infográfico, podcasts, etc., y podrá estar en cualquier formato conocido o por conocerse. | spa |
| dc.rights.accessRights | Open Access | eng |
| dc.rights.cc | Atribucion-NoComercial-CompartirIgual CC BY-NC-SA 4.0 | eng |
| dc.rights.disclaimer | Las opiniones contenidas en el presente documento son responsabilidad exclusiva de los autores y no comprometen al Banco de la República ni a su Junta Directiva. | spa |
| dc.rights.spa | Acceso abierto | spa |
| dc.rights.uri | https://creativecommons.org/licenses/by-nc-sa/4.0/ | eng |
| dc.source.handleRepec | RePEc:col:000094:002279 | spa |
| dc.subject | Desarrollo | spa |
| dc.subject | Sistema financiero | spa |
| dc.subject | Crecimiento económico | spa |
| dc.subject.jel | F43 - Economic Growth of Open Economies | eng |
| dc.subject.jel | O16 - Financial Markets; Saving and Capital Investment; Corporate Finance and Governance | eng |
| dc.subject.jelspa | O16 - Mercados financieros; Ahorro e inversión de capital; Gobierno y financiación de la empresa | spa |
| dc.subject.jelspa | F43 - Crecimiento económico de economías abiertas | spa |
| dc.subject.lemb | Sistema financiero | spa |
| dc.subject.lemb | Desarrollo económico | spa |
| dc.subject.lemb | Crecimiento económico | spa |
| dc.title | Desarrollo del sistema financiero y crecimiento económico | spa |
| dc.type | Working Paper | eng |
| dc.type.hasversion | Published Version | eng |
| dc.type.spa | Documentos de trabajo | spa |
Files
Original bundle
1 - 5 of 27
Loading...
- Name:
- be_67.pdf
- Size:
- 1.69 MB
- Format:
- Adobe Portable Document Format
- FILE
- https://repositorio.banrep.gov.co/bitstream/handle/20.500.12134/5083/be_67.pdf
- Description:
- Imagen Borrador de Economia No. 067
Loading...
- Name:
- BDE-067-001.JPG
- Size:
- 29.71 KB
- Format:
- Joint Photographic Experts Group/JPEG File Interchange Format (JFIF)
- FILE
- https://repositorio.banrep.gov.co/bitstream/handle/20.500.12134/5083/BDE-067-001.JPG
- Description:
- Imagen 067-001
Loading...
- Name:
- BDE-067-002.JPG
- Size:
- 33.42 KB
- Format:
- Joint Photographic Experts Group/JPEG File Interchange Format (JFIF)
- FILE
- https://repositorio.banrep.gov.co/bitstream/handle/20.500.12134/5083/BDE-067-002.JPG
- Description:
- Imagen 067-002
Loading...
- Name:
- BDE-067-003.JPG
- Size:
- 18.36 KB
- Format:
- Joint Photographic Experts Group/JPEG File Interchange Format (JFIF)
- FILE
- https://repositorio.banrep.gov.co/bitstream/handle/20.500.12134/5083/BDE-067-003.JPG
- Description:
- Imagen 067-003
Loading...
- Name:
- BDE-067-004.JPG
- Size:
- 22.32 KB
- Format:
- Joint Photographic Experts Group/JPEG File Interchange Format (JFIF)
- FILE
- https://repositorio.banrep.gov.co/bitstream/handle/20.500.12134/5083/BDE-067-004.JPG
- Description:
- Imagen 067-004
License bundle
1 - 1 of 1





